
👏大家晚上好👏
广东省事业单位2026年
集中公开招聘高校毕业生报名进行中
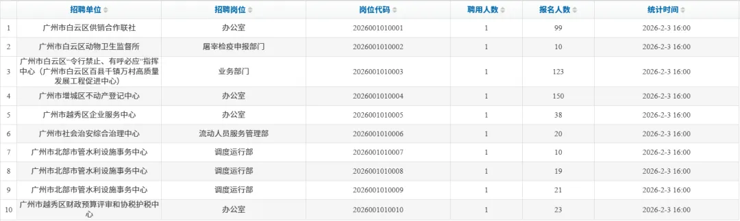
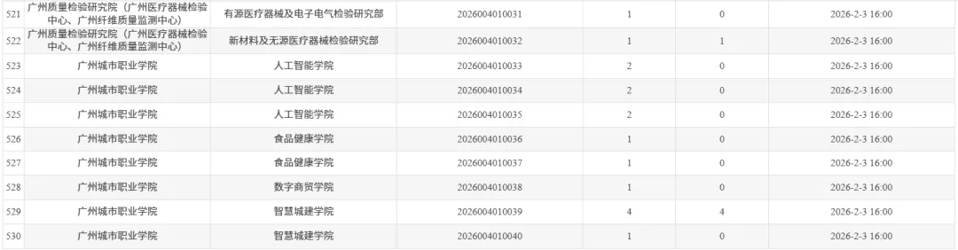
截至2月3日16时广州岗位报名人数情况
快跟我一起来了解一下吧!

↓ ↓ ↓
广东省事业单位
2026年集中公开招聘高校毕业生

广州岗位报名人数统计
(截至2月3日16时)























































点击图片放大查看
⏰报名时间:2026年2月2日9:00至2月6日16:00
🔎报名方式:本次招聘实行网络报名。应聘人员请报名时间内登录“广东省事业单位公开招聘信息管理系统(考生报名)”(https://ggfw.hrss.gd.gov.cn/sydwbk,以下简称“招聘系统”)报名
应聘人员只能选择一个岗位报名。2026年2月2日至2月4日每天10时、16时前后系统将发布各岗位报名的人数。报名时间截止后3个工作日内,系统将公布各岗位报名总人数。
✅推荐服务:可在广东省人力资源和社会保障厅网站官网(http://hrss.gd.gov.cn)获取招聘信息,或长按扫描下方二维码关注【本地宝广州招聘】→后台聊天对话框回复【集中】即可获取此次招聘公告原文、快速直达报名入口、下载查看完整版岗位表,了解完整招聘程序以及广州更多事业单位招聘信息等!

↓


加入求职/招人群聊👇

直接扫码进入灵活用工群
企业主添加群主后可发布岗位
了解更多招聘信息👇

您关注公众号后,可在对话框回复【关键词】获取相关信息
回复【编制】获取广州事业编制岗位招聘信息、报名入口
回复【教师】获取广州教师|后勤岗位招聘信息、报名入口
回复【医院】获取广州医生|护士岗位招聘信息、报名入口
回复【国企】获取广州国企|央企岗位招聘信息、报名入口
回复【校招】获取广州校招|实习岗位招聘信息、报名入口
▌本文来源:广东省人力资源和社会保障厅官网,广东省事业单位公开招聘信息管理系统(考生报名),本地宝广州招聘综合整理;
▌图片来源:广东省事业单位公开招聘信息管理系统(考生报名),酷吧,摄图网(已获平台授权),本地宝广州招聘综合整理;
▌说明:本文由本地宝广州招聘整理发布,转载请注明。
▌提醒:如涉及侵权或对版权有疑问,您可发邮件至lichunyi@bendibao.com联系我们删除处理!
▌编辑:蝴蝶(李春仪)
▌商务合作:电话:4009999087 QQ:4009999087
▌点击查看:商务合作微信
注:手机QQ添加时若无法找到,选择“找公众号”即可添加

您点赞👍和💖,小编加鸡腿
点击阅读原文即可获取每日招聘信息(日更)