当前位置:首页>东莞>广州地铁珑岄上城 | 72平存货不足70套了!学校预计升级为9年制,5 号线双沙站+8000㎡商业街区+2.17容积率,详细测评 | 优缺点评 | 附价格

广州地铁珑岄上城 | 72平存货不足70套了!学校预计升级为9年制,5 号线双沙站+8000㎡商业街区+2.17容积率,详细测评 | 优缺点评 | 附价格

  • 2026-03-03 04:27:48
广州地铁珑岄上城 | 72平存货不足70套了!学校预计升级为9年制,5 号线双沙站+8000㎡商业街区+2.17容积率,详细测评 | 优缺点评 | 附价格
大家好!我是老K,OK的K
今天介绍的项目是位于老黄埔板块的珑岄上城
作为 5 号线双沙站上盖项目,可一线直达珠江新城、金融城等核心区域
小区自带建面约 8000㎡商业街区,临近建面约 31 万㎡华润万象系商业综合体(建设中)
一期配建 6 班幼儿园,根据规划和自然资源局的最新公示,确定项目内将建设9年制的学校,投入使用之后,将能在小区之内实现12年教育
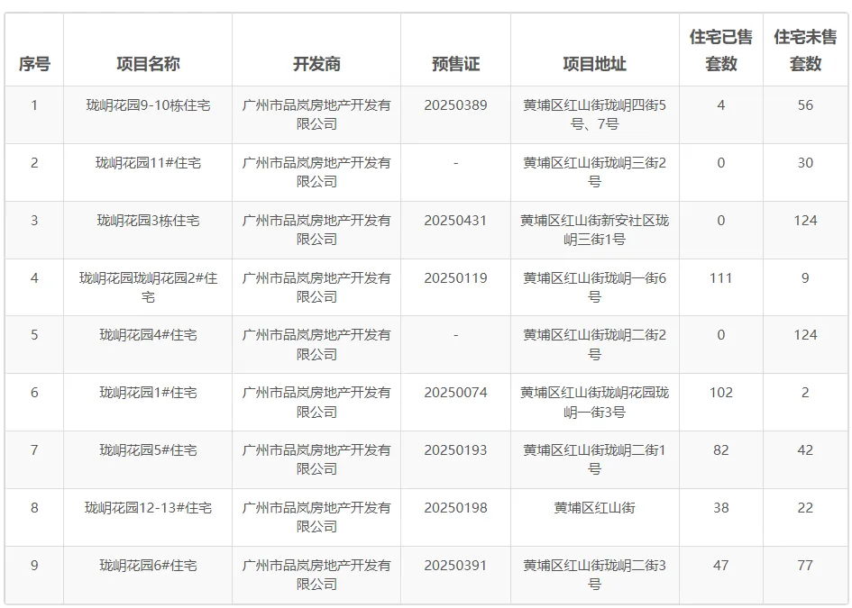
目前高层房源1~6座,除了4座没有拿预售证之外,其他楼栋均已取得预售证
最新的在售楼栋是3座,同样也只做一条踢腿是南北对流72平户型,暂时没有网签数据,加上5/6座的尾货,剩余未网签的72平货量仅剩下70套左右
如果预算不高,地铁通勤直达,对教育暂不紧迫的话,珑岄上城2.17的容积率,非超高层,新规130%的使用率,在目前市场中确实有不错的竞争力~
对项目感兴趣的话,欢迎约老K看房,成交有额外反现哦~
基础信息

开发商:广州地铁地产

总建面:约 38 万㎡

首期总占地:约 5 万㎡

总建面:约 11.5 万㎡

容积率:2.17

车位比:1:1.2

拿地时间:2024年12月10日
拿地价格:17000元/平米
总户数:一期住宅约 1054 户
项目位置:位于广州市黄埔区 5 号线双沙站上盖
业态类型:集住宅、商业、公园等资源多维配套大城
梯户比:塔楼2梯4户 共26-32层 / 板楼专梯入户 共16层
产品类型:建面约 74-94㎡高层三至四房、建面约 110-125㎡板式小洋房

2024年,广州地铁地产以215.51亿元的全口径销售金额排名广州房企前三名,稳稳占据广州市场第一梯队。(数据来源:克而瑞)

自1993年开始,践行“轨道+物业+产业+生活”的TOD综合开发模式,以“百年地铁工程”标准建房子,创立琶洲TOD、万胜广场等20+TOD人居范本。

项目位于广州第三中轴与第二CBD交汇的“黄金十字路口”,可快速链接珠江新城、金融城、琶洲CBD,一[键]开启万象繁华;

项目配套
 交通配套 

地铁:项目为地铁 5 号线双沙站上盖,可一线直达珠江新城、金融城等核心区域,且邻近地铁 13 号线、25 号线(规划中),沿线可换乘多条线路,去往珠江新城约34分钟,琶洲约34分钟,大学城南32分钟,万博约44分钟

自驾:临近黄埔大道和广深沿江高速,去往珠江新城也是一路直达,但主干道车流较大经常堵车,地铁的出行成本和时效性更佳!

公交:小区东南角处,有规划的公交首末站,后期开通之后也方便老人家出行。

 教育配套 

自身配建:项目一期规划配建 6 班幼儿园,二期原规划配建 18 班小学

根据最新的规划和自然资源局的批前公示,学校将升级为9年制学校,但具体的学校品牌和交付使用时间暂无消息

周边学校:附近有石化小学、双沙中学等学校。另外,周边双沙旧改规划有 1 所 24 班小学、1 所 48 班小学、1 所 42 班九年一贯制学校、1 所 54 班中学

 医疗配套 

三甲医院:约 3 公里有广州医科大学附属第五医院(三甲),约 4.5 公里有中山大学附属第一医院东院区(改造升级中),为居民提供高质量的医疗服务。

其他医院:黄埔区中医医院、广州市黄埔区妇幼保健院等也在附近

 商业配套 

自建商业:项目自身配备立体社区3300㎡商业及共建配套,能满足日常生活基本所需

周边商业:临近建面约31万㎡华润万象系商业综合体(建设中),5号线双沙站出发,一站沃尔玛(文冲站),5站即达美林天地、宜家家居、山姆会员超市(三溪站)

 休闲配套 

背靠约5000亩龙头山森林公园,以“引山入园”的手法,首期打造约1.5万㎡围合式艺术花园;

以南低北高设计,打造约30-88米超宽楼距。

板块内稀缺约2.17容积率,拥有更开阔的视野,更舒适生活。

在售房源

交通便捷:整体抬高了16米,真正实现地铁直通归家入户,业主从电梯厅直达地铁站厅,无需走出地面,归家动线无惧风雨。

低密宜居:2.17 的容积率在老黄埔区域较为稀缺,呈东西向展开,楼栋以南低北高的形式排列,楼距宽达 50-88 米,视野开阔,私密性极佳。

实用率高:匠心打造全百米内非超高层设计,减少公摊实现空间自由,实现全系超约 130% 实用率,户户南向采光的全明格局,轻松承载家庭进化。

户型设计佳:如约 74㎡户型实现三房两厅两卫,94㎡四房预留了 270 度双边采光边厅,约 125 平户型能做到 4 房 3 卫双主套的超配功能

【72m²三房两厅两卫】

独立花园入户:归家即享自然礼序,生活百物从容收纳

双阳台设计:精致生活阳台,多一处家政空间,居室更加整洁舒适

舒享主卧套房:南向园景+北向山景相伴,沐浴更衣皆与风景为伴

南北通透大方厅:LDKB一体化设计,客餐厅双面采光

四开间朝南:让家沐浴在阳光里,定义人居新标准

空间可变性:灵活布局,满足多种生活场景需求

【94㎡四房两厅两卫】

独立花园入户:归家即享自然礼序,生活百物从容收纳

双阳台设计:精致生活阳台,多一处家政空间,居室更加整洁舒适

舒享主卧套房:南向园景+北向山景相伴,生活舒适从容

南北通透大方厅:LDKB一体化设计,客餐厅双面采光

四开间朝南:让家沐浴在阳光里,定义人居新标准

空间可变性:灵活布局,满足多种生活场景需求

【94㎡四房两厅两卫】

独立花园入户:归家即享自然礼序,生活百物从容收纳

+1空间设计:多一处家政空间,居室更加整洁舒适

舒享主卧套房:南向园景+北向山景相伴,生活舒适从容

LDKB一体化大方厅:客餐厨阳台四大功能区打通,解锁家庭互动空间

四开间朝南:让家沐浴在阳光里,定义人居新标准

空间可变性:灵活布局,满足多种生活场景需求

约110-125㎡低密小洋房,独立明厅专梯入户,隐奢归家礼序,更理想的丰盈生活。

【110m²四房两厅两卫】

独立明厅入户:一梯一户归家仪式感拉满,彰显尊崇生活

星级主卧套房:独立卫浴+衣帽间,尊享奢华与品味

超大LDKB方厅:客餐厨阳台四大功能区打通。一键切换聚餐、party模式

沉浸式景观:前后南北双向围合式园林,超宽楼间距

四面宽朝南:超宽南向园林面,直面一线中心大园林

【125m²四房两厅三卫】

独立明厅入户:一梯一户归家仪式感拉满,彰显尊崇生活

星级双主套:家庭成员各有一方小天地,全家生活更自由

超大LDKB方厅:客餐厨阳台四大功能区打通。一键切换聚餐、party模式

南北双阳台:南北对流,家政/赏景互不干扰

沉浸式景观:前后南北双向围合式园林,超宽楼间距

四面宽朝南:超宽南向园林面,直面一线中心大园林

楼盘优点

交通便捷:5 号线双沙站上盖,可一线直达珠江新城、金融城等核心区域,且邻近地铁 13 号线、25 号线等,小区周边交通便捷,1 公里内有多个公交站,居民可便捷换乘,轻松到达城市各处。

低密舒适:容积率仅 2.17,相比老黄埔众多旧改项目 5-6 的高容积率,居住密度低很多,意味着有更宽敞的楼间距、更多的绿化空间和公共区域,居住环境更加舒适,私密性更好。

自然景观优:北面紧邻占地约 5000 亩的龙头山森林公园,直线距离仅有 100 多米,居民可近享自然生态资源,休闲散步、登山锻炼十分方便,且部分房源能欣赏到山景,景观视野好。

价格优势:由于拿地价比周边便宜17000元/㎡,并且只要配建幼儿园和小学,配建少,预计开盘价格肯定比中建海丝城要低;

产品优势:使用率高达130%,对比周边旧改优势明显,并且户户朝南,高层74/94南北对流,小高层110/125平除了南北对流,还有专梯入户,电梯间的空间能独享;

避坑缺点

环境嘈杂粉尘多:地块周边物流园众多,如广东怀远物流园、广州公交集团黄埔现代物流园等,还有广州广钢新能源、万华化学集散中心、广州伟基机械等工厂,物流园的重卡、大型拖车以及工厂作业会产生较大的噪音和粉尘。

交通噪音隐患:北侧大沙东路四期打通后,将承接东西向老黄埔 - 云埔工业区的货车疏解功能,会带来更多噪音和粉尘。小区南面 400 米处有广深沿江高速长长的匝道,老黄埔货车多,夜深人静时,货车噪音可能会对居民生活产生影响。

教育不确定:项目一期只配建幼儿园,二期配建小学,但二期尚未完成出让,学校品牌和交付时间都不确定,对于有子女入学需求的家庭来说,存在一定的不确定性和风险。此外,周边只规划了小学和幼儿园,没有规划初中,大概率要电脑派位。

商业兑现慢:虽然周边规划有 31 万平方米的万象商业综合体等大型商业设施,但需依赖双沙旧改的整体进度,短期内难以完全兑现,居民享受完善商业配套需要一定的等待时间。

转手竞争大:项目自身体量大,且与周边的中建海丝城等项目加起来房源众多,未来二手房转手竞争压力较大。

部分户型缺陷:部分户型存在不够方正、入户门正对卧室门、上卫生间要穿过客厅等问题,居住的便利性和舒适度可能会受影响

购房介绍

最新文章

随机文章

基本 文件 流程 错误 SQL 调试
  1. 请求信息 : 2026-03-22 12:11:22 HTTP/2.0 GET : https://c.460.net.cn/a/462179.html
  2. 运行时间 : 0.088202s [ 吞吐率:11.34req/s ] 内存消耗:4,460.14kb 文件加载:140
  3. 缓存信息 : 0 reads,0 writes
  4. 会话信息 : SESSION_ID=07d5efcbd0f3da24f17a12fafb79aed6
  1. /yingpanguazai/ssd/ssd1/www/c.460.net.cn/public/index.php ( 0.79 KB )
  2. /yingpanguazai/ssd/ssd1/www/c.460.net.cn/vendor/autoload.php ( 0.17 KB )
  3. /yingpanguazai/ssd/ssd1/www/c.460.net.cn/vendor/composer/autoload_real.php ( 2.49 KB )
  4. /yingpanguazai/ssd/ssd1/www/c.460.net.cn/vendor/composer/platform_check.php ( 0.90 KB )
  5. /yingpanguazai/ssd/ssd1/www/c.460.net.cn/vendor/composer/ClassLoader.php ( 14.03 KB )
  6. /yingpanguazai/ssd/ssd1/www/c.460.net.cn/vendor/composer/autoload_static.php ( 4.90 KB )
  7. /yingpanguazai/ssd/ssd1/www/c.460.net.cn/vendor/topthink/think-helper/src/helper.php ( 8.34 KB )
  8. /yingpanguazai/ssd/ssd1/www/c.460.net.cn/vendor/topthink/think-validate/src/helper.php ( 2.19 KB )
  9. /yingpanguazai/ssd/ssd1/www/c.460.net.cn/vendor/topthink/think-orm/src/helper.php ( 1.47 KB )
  10. /yingpanguazai/ssd/ssd1/www/c.460.net.cn/vendor/topthink/think-orm/stubs/load_stubs.php ( 0.16 KB )
  11. /yingpanguazai/ssd/ssd1/www/c.460.net.cn/vendor/topthink/framework/src/think/Exception.php ( 1.69 KB )
  12. /yingpanguazai/ssd/ssd1/www/c.460.net.cn/vendor/topthink/think-container/src/Facade.php ( 2.71 KB )
  13. /yingpanguazai/ssd/ssd1/www/c.460.net.cn/vendor/symfony/deprecation-contracts/function.php ( 0.99 KB )
  14. /yingpanguazai/ssd/ssd1/www/c.460.net.cn/vendor/symfony/polyfill-mbstring/bootstrap.php ( 8.26 KB )
  15. /yingpanguazai/ssd/ssd1/www/c.460.net.cn/vendor/symfony/polyfill-mbstring/bootstrap80.php ( 9.78 KB )
  16. /yingpanguazai/ssd/ssd1/www/c.460.net.cn/vendor/symfony/var-dumper/Resources/functions/dump.php ( 1.49 KB )
  17. /yingpanguazai/ssd/ssd1/www/c.460.net.cn/vendor/topthink/think-dumper/src/helper.php ( 0.18 KB )
  18. /yingpanguazai/ssd/ssd1/www/c.460.net.cn/vendor/symfony/var-dumper/VarDumper.php ( 4.30 KB )
  19. /yingpanguazai/ssd/ssd1/www/c.460.net.cn/vendor/topthink/framework/src/think/App.php ( 15.30 KB )
  20. /yingpanguazai/ssd/ssd1/www/c.460.net.cn/vendor/topthink/think-container/src/Container.php ( 15.76 KB )
  21. /yingpanguazai/ssd/ssd1/www/c.460.net.cn/vendor/psr/container/src/ContainerInterface.php ( 1.02 KB )
  22. /yingpanguazai/ssd/ssd1/www/c.460.net.cn/app/provider.php ( 0.19 KB )
  23. /yingpanguazai/ssd/ssd1/www/c.460.net.cn/vendor/topthink/framework/src/think/Http.php ( 6.04 KB )
  24. /yingpanguazai/ssd/ssd1/www/c.460.net.cn/vendor/topthink/think-helper/src/helper/Str.php ( 7.29 KB )
  25. /yingpanguazai/ssd/ssd1/www/c.460.net.cn/vendor/topthink/framework/src/think/Env.php ( 4.68 KB )
  26. /yingpanguazai/ssd/ssd1/www/c.460.net.cn/app/common.php ( 0.03 KB )
  27. /yingpanguazai/ssd/ssd1/www/c.460.net.cn/vendor/topthink/framework/src/helper.php ( 18.78 KB )
  28. /yingpanguazai/ssd/ssd1/www/c.460.net.cn/vendor/topthink/framework/src/think/Config.php ( 5.54 KB )
  29. /yingpanguazai/ssd/ssd1/www/c.460.net.cn/config/app.php ( 0.95 KB )
  30. /yingpanguazai/ssd/ssd1/www/c.460.net.cn/config/cache.php ( 0.78 KB )
  31. /yingpanguazai/ssd/ssd1/www/c.460.net.cn/config/console.php ( 0.23 KB )
  32. /yingpanguazai/ssd/ssd1/www/c.460.net.cn/config/cookie.php ( 0.56 KB )
  33. /yingpanguazai/ssd/ssd1/www/c.460.net.cn/config/database.php ( 2.47 KB )
  34. /yingpanguazai/ssd/ssd1/www/c.460.net.cn/vendor/topthink/framework/src/think/facade/Env.php ( 1.67 KB )
  35. /yingpanguazai/ssd/ssd1/www/c.460.net.cn/config/filesystem.php ( 0.61 KB )
  36. /yingpanguazai/ssd/ssd1/www/c.460.net.cn/config/lang.php ( 0.91 KB )
  37. /yingpanguazai/ssd/ssd1/www/c.460.net.cn/config/log.php ( 1.35 KB )
  38. /yingpanguazai/ssd/ssd1/www/c.460.net.cn/config/middleware.php ( 0.19 KB )
  39. /yingpanguazai/ssd/ssd1/www/c.460.net.cn/config/route.php ( 1.89 KB )
  40. /yingpanguazai/ssd/ssd1/www/c.460.net.cn/config/session.php ( 0.57 KB )
  41. /yingpanguazai/ssd/ssd1/www/c.460.net.cn/config/trace.php ( 0.34 KB )
  42. /yingpanguazai/ssd/ssd1/www/c.460.net.cn/config/view.php ( 0.82 KB )
  43. /yingpanguazai/ssd/ssd1/www/c.460.net.cn/app/event.php ( 0.25 KB )
  44. /yingpanguazai/ssd/ssd1/www/c.460.net.cn/vendor/topthink/framework/src/think/Event.php ( 7.67 KB )
  45. /yingpanguazai/ssd/ssd1/www/c.460.net.cn/app/service.php ( 0.13 KB )
  46. /yingpanguazai/ssd/ssd1/www/c.460.net.cn/app/AppService.php ( 0.26 KB )
  47. /yingpanguazai/ssd/ssd1/www/c.460.net.cn/vendor/topthink/framework/src/think/Service.php ( 1.64 KB )
  48. /yingpanguazai/ssd/ssd1/www/c.460.net.cn/vendor/topthink/framework/src/think/Lang.php ( 7.35 KB )
  49. /yingpanguazai/ssd/ssd1/www/c.460.net.cn/vendor/topthink/framework/src/lang/zh-cn.php ( 13.70 KB )
  50. /yingpanguazai/ssd/ssd1/www/c.460.net.cn/vendor/topthink/framework/src/think/initializer/Error.php ( 3.31 KB )
  51. /yingpanguazai/ssd/ssd1/www/c.460.net.cn/vendor/topthink/framework/src/think/initializer/RegisterService.php ( 1.33 KB )
  52. /yingpanguazai/ssd/ssd1/www/c.460.net.cn/vendor/services.php ( 0.14 KB )
  53. /yingpanguazai/ssd/ssd1/www/c.460.net.cn/vendor/topthink/framework/src/think/service/PaginatorService.php ( 1.52 KB )
  54. /yingpanguazai/ssd/ssd1/www/c.460.net.cn/vendor/topthink/framework/src/think/service/ValidateService.php ( 0.99 KB )
  55. /yingpanguazai/ssd/ssd1/www/c.460.net.cn/vendor/topthink/framework/src/think/service/ModelService.php ( 2.04 KB )
  56. /yingpanguazai/ssd/ssd1/www/c.460.net.cn/vendor/topthink/think-trace/src/Service.php ( 0.77 KB )
  57. /yingpanguazai/ssd/ssd1/www/c.460.net.cn/vendor/topthink/framework/src/think/Middleware.php ( 6.72 KB )
  58. /yingpanguazai/ssd/ssd1/www/c.460.net.cn/vendor/topthink/framework/src/think/initializer/BootService.php ( 0.77 KB )
  59. /yingpanguazai/ssd/ssd1/www/c.460.net.cn/vendor/topthink/think-orm/src/Paginator.php ( 11.86 KB )
  60. /yingpanguazai/ssd/ssd1/www/c.460.net.cn/vendor/topthink/think-validate/src/Validate.php ( 63.20 KB )
  61. /yingpanguazai/ssd/ssd1/www/c.460.net.cn/vendor/topthink/think-orm/src/Model.php ( 23.55 KB )
  62. /yingpanguazai/ssd/ssd1/www/c.460.net.cn/vendor/topthink/think-orm/src/model/concern/Attribute.php ( 21.05 KB )
  63. /yingpanguazai/ssd/ssd1/www/c.460.net.cn/vendor/topthink/think-orm/src/model/concern/AutoWriteData.php ( 4.21 KB )
  64. /yingpanguazai/ssd/ssd1/www/c.460.net.cn/vendor/topthink/think-orm/src/model/concern/Conversion.php ( 6.44 KB )
  65. /yingpanguazai/ssd/ssd1/www/c.460.net.cn/vendor/topthink/think-orm/src/model/concern/DbConnect.php ( 5.16 KB )
  66. /yingpanguazai/ssd/ssd1/www/c.460.net.cn/vendor/topthink/think-orm/src/model/concern/ModelEvent.php ( 2.33 KB )
  67. /yingpanguazai/ssd/ssd1/www/c.460.net.cn/vendor/topthink/think-orm/src/model/concern/RelationShip.php ( 28.29 KB )
  68. /yingpanguazai/ssd/ssd1/www/c.460.net.cn/vendor/topthink/think-helper/src/contract/Arrayable.php ( 0.09 KB )
  69. /yingpanguazai/ssd/ssd1/www/c.460.net.cn/vendor/topthink/think-helper/src/contract/Jsonable.php ( 0.13 KB )
  70. /yingpanguazai/ssd/ssd1/www/c.460.net.cn/vendor/topthink/think-orm/src/model/contract/Modelable.php ( 0.09 KB )
  71. /yingpanguazai/ssd/ssd1/www/c.460.net.cn/vendor/topthink/framework/src/think/Db.php ( 2.88 KB )
  72. /yingpanguazai/ssd/ssd1/www/c.460.net.cn/vendor/topthink/think-orm/src/DbManager.php ( 8.52 KB )
  73. /yingpanguazai/ssd/ssd1/www/c.460.net.cn/vendor/topthink/framework/src/think/Log.php ( 6.28 KB )
  74. /yingpanguazai/ssd/ssd1/www/c.460.net.cn/vendor/topthink/framework/src/think/Manager.php ( 3.92 KB )
  75. /yingpanguazai/ssd/ssd1/www/c.460.net.cn/vendor/psr/log/src/LoggerTrait.php ( 2.69 KB )
  76. /yingpanguazai/ssd/ssd1/www/c.460.net.cn/vendor/psr/log/src/LoggerInterface.php ( 2.71 KB )
  77. /yingpanguazai/ssd/ssd1/www/c.460.net.cn/vendor/topthink/framework/src/think/Cache.php ( 4.92 KB )
  78. /yingpanguazai/ssd/ssd1/www/c.460.net.cn/vendor/psr/simple-cache/src/CacheInterface.php ( 4.71 KB )
  79. /yingpanguazai/ssd/ssd1/www/c.460.net.cn/vendor/topthink/think-helper/src/helper/Arr.php ( 16.63 KB )
  80. /yingpanguazai/ssd/ssd1/www/c.460.net.cn/vendor/topthink/framework/src/think/cache/driver/File.php ( 7.84 KB )
  81. /yingpanguazai/ssd/ssd1/www/c.460.net.cn/vendor/topthink/framework/src/think/cache/Driver.php ( 9.03 KB )
  82. /yingpanguazai/ssd/ssd1/www/c.460.net.cn/vendor/topthink/framework/src/think/contract/CacheHandlerInterface.php ( 1.99 KB )
  83. /yingpanguazai/ssd/ssd1/www/c.460.net.cn/app/Request.php ( 0.09 KB )
  84. /yingpanguazai/ssd/ssd1/www/c.460.net.cn/vendor/topthink/framework/src/think/Request.php ( 55.78 KB )
  85. /yingpanguazai/ssd/ssd1/www/c.460.net.cn/app/middleware.php ( 0.25 KB )
  86. /yingpanguazai/ssd/ssd1/www/c.460.net.cn/vendor/topthink/framework/src/think/Pipeline.php ( 2.61 KB )
  87. /yingpanguazai/ssd/ssd1/www/c.460.net.cn/vendor/topthink/think-trace/src/TraceDebug.php ( 3.40 KB )
  88. /yingpanguazai/ssd/ssd1/www/c.460.net.cn/vendor/topthink/framework/src/think/middleware/SessionInit.php ( 1.94 KB )
  89. /yingpanguazai/ssd/ssd1/www/c.460.net.cn/vendor/topthink/framework/src/think/Session.php ( 1.80 KB )
  90. /yingpanguazai/ssd/ssd1/www/c.460.net.cn/vendor/topthink/framework/src/think/session/driver/File.php ( 6.27 KB )
  91. /yingpanguazai/ssd/ssd1/www/c.460.net.cn/vendor/topthink/framework/src/think/contract/SessionHandlerInterface.php ( 0.87 KB )
  92. /yingpanguazai/ssd/ssd1/www/c.460.net.cn/vendor/topthink/framework/src/think/session/Store.php ( 7.12 KB )
  93. /yingpanguazai/ssd/ssd1/www/c.460.net.cn/vendor/topthink/framework/src/think/Route.php ( 23.73 KB )
  94. /yingpanguazai/ssd/ssd1/www/c.460.net.cn/vendor/topthink/framework/src/think/route/RuleName.php ( 5.75 KB )
  95. /yingpanguazai/ssd/ssd1/www/c.460.net.cn/vendor/topthink/framework/src/think/route/Domain.php ( 2.53 KB )
  96. /yingpanguazai/ssd/ssd1/www/c.460.net.cn/vendor/topthink/framework/src/think/route/RuleGroup.php ( 22.43 KB )
  97. /yingpanguazai/ssd/ssd1/www/c.460.net.cn/vendor/topthink/framework/src/think/route/Rule.php ( 26.95 KB )
  98. /yingpanguazai/ssd/ssd1/www/c.460.net.cn/vendor/topthink/framework/src/think/route/RuleItem.php ( 9.78 KB )
  99. /yingpanguazai/ssd/ssd1/www/c.460.net.cn/route/app.php ( 1.72 KB )
  100. /yingpanguazai/ssd/ssd1/www/c.460.net.cn/vendor/topthink/framework/src/think/facade/Route.php ( 4.70 KB )
  101. /yingpanguazai/ssd/ssd1/www/c.460.net.cn/vendor/topthink/framework/src/think/route/dispatch/Controller.php ( 4.74 KB )
  102. /yingpanguazai/ssd/ssd1/www/c.460.net.cn/vendor/topthink/framework/src/think/route/Dispatch.php ( 10.44 KB )
  103. /yingpanguazai/ssd/ssd1/www/c.460.net.cn/app/controller/Index.php ( 4.81 KB )
  104. /yingpanguazai/ssd/ssd1/www/c.460.net.cn/app/BaseController.php ( 2.05 KB )
  105. /yingpanguazai/ssd/ssd1/www/c.460.net.cn/vendor/topthink/think-orm/src/facade/Db.php ( 0.93 KB )
  106. /yingpanguazai/ssd/ssd1/www/c.460.net.cn/vendor/topthink/think-orm/src/db/connector/Mysql.php ( 5.44 KB )
  107. /yingpanguazai/ssd/ssd1/www/c.460.net.cn/vendor/topthink/think-orm/src/db/PDOConnection.php ( 52.47 KB )
  108. /yingpanguazai/ssd/ssd1/www/c.460.net.cn/vendor/topthink/think-orm/src/db/Connection.php ( 8.39 KB )
  109. /yingpanguazai/ssd/ssd1/www/c.460.net.cn/vendor/topthink/think-orm/src/db/ConnectionInterface.php ( 4.57 KB )
  110. /yingpanguazai/ssd/ssd1/www/c.460.net.cn/vendor/topthink/think-orm/src/db/builder/Mysql.php ( 16.58 KB )
  111. /yingpanguazai/ssd/ssd1/www/c.460.net.cn/vendor/topthink/think-orm/src/db/Builder.php ( 24.06 KB )
  112. /yingpanguazai/ssd/ssd1/www/c.460.net.cn/vendor/topthink/think-orm/src/db/BaseBuilder.php ( 27.50 KB )
  113. /yingpanguazai/ssd/ssd1/www/c.460.net.cn/vendor/topthink/think-orm/src/db/Query.php ( 15.71 KB )
  114. /yingpanguazai/ssd/ssd1/www/c.460.net.cn/vendor/topthink/think-orm/src/db/BaseQuery.php ( 45.13 KB )
  115. /yingpanguazai/ssd/ssd1/www/c.460.net.cn/vendor/topthink/think-orm/src/db/concern/TimeFieldQuery.php ( 7.43 KB )
  116. /yingpanguazai/ssd/ssd1/www/c.460.net.cn/vendor/topthink/think-orm/src/db/concern/AggregateQuery.php ( 3.26 KB )
  117. /yingpanguazai/ssd/ssd1/www/c.460.net.cn/vendor/topthink/think-orm/src/db/concern/ModelRelationQuery.php ( 20.07 KB )
  118. /yingpanguazai/ssd/ssd1/www/c.460.net.cn/vendor/topthink/think-orm/src/db/concern/ParamsBind.php ( 3.66 KB )
  119. /yingpanguazai/ssd/ssd1/www/c.460.net.cn/vendor/topthink/think-orm/src/db/concern/ResultOperation.php ( 7.01 KB )
  120. /yingpanguazai/ssd/ssd1/www/c.460.net.cn/vendor/topthink/think-orm/src/db/concern/WhereQuery.php ( 19.37 KB )
  121. /yingpanguazai/ssd/ssd1/www/c.460.net.cn/vendor/topthink/think-orm/src/db/concern/JoinAndViewQuery.php ( 7.11 KB )
  122. /yingpanguazai/ssd/ssd1/www/c.460.net.cn/vendor/topthink/think-orm/src/db/concern/TableFieldInfo.php ( 2.63 KB )
  123. /yingpanguazai/ssd/ssd1/www/c.460.net.cn/vendor/topthink/think-orm/src/db/concern/Transaction.php ( 2.77 KB )
  124. /yingpanguazai/ssd/ssd1/www/c.460.net.cn/vendor/topthink/framework/src/think/log/driver/File.php ( 5.96 KB )
  125. /yingpanguazai/ssd/ssd1/www/c.460.net.cn/vendor/topthink/framework/src/think/contract/LogHandlerInterface.php ( 0.86 KB )
  126. /yingpanguazai/ssd/ssd1/www/c.460.net.cn/vendor/topthink/framework/src/think/log/Channel.php ( 3.89 KB )
  127. /yingpanguazai/ssd/ssd1/www/c.460.net.cn/vendor/topthink/framework/src/think/event/LogRecord.php ( 1.02 KB )
  128. /yingpanguazai/ssd/ssd1/www/c.460.net.cn/vendor/topthink/think-helper/src/Collection.php ( 16.47 KB )
  129. /yingpanguazai/ssd/ssd1/www/c.460.net.cn/vendor/topthink/framework/src/think/facade/View.php ( 1.70 KB )
  130. /yingpanguazai/ssd/ssd1/www/c.460.net.cn/vendor/topthink/framework/src/think/View.php ( 4.39 KB )
  131. /yingpanguazai/ssd/ssd1/www/c.460.net.cn/vendor/topthink/framework/src/think/Response.php ( 8.81 KB )
  132. /yingpanguazai/ssd/ssd1/www/c.460.net.cn/vendor/topthink/framework/src/think/response/View.php ( 3.29 KB )
  133. /yingpanguazai/ssd/ssd1/www/c.460.net.cn/vendor/topthink/framework/src/think/Cookie.php ( 6.06 KB )
  134. /yingpanguazai/ssd/ssd1/www/c.460.net.cn/vendor/topthink/think-view/src/Think.php ( 8.38 KB )
  135. /yingpanguazai/ssd/ssd1/www/c.460.net.cn/vendor/topthink/framework/src/think/contract/TemplateHandlerInterface.php ( 1.60 KB )
  136. /yingpanguazai/ssd/ssd1/www/c.460.net.cn/vendor/topthink/think-template/src/Template.php ( 46.61 KB )
  137. /yingpanguazai/ssd/ssd1/www/c.460.net.cn/vendor/topthink/think-template/src/template/driver/File.php ( 2.41 KB )
  138. /yingpanguazai/ssd/ssd1/www/c.460.net.cn/vendor/topthink/think-template/src/template/contract/DriverInterface.php ( 0.86 KB )
  139. /yingpanguazai/ssd/ssd1/www/c.460.net.cn/runtime/temp/a3df6b94aede6ebd0d2926ccdfcd20d5.php ( 11.98 KB )
  140. /yingpanguazai/ssd/ssd1/www/c.460.net.cn/vendor/topthink/think-trace/src/Html.php ( 4.42 KB )
  1. CONNECT:[ UseTime:0.000507s ] mysql:host=127.0.0.1;port=3306;dbname=c460;charset=utf8mb4
  2. SHOW FULL COLUMNS FROM `fenlei` [ RunTime:0.000621s ]
  3. SELECT * FROM `fenlei` WHERE `fid` = 0 [ RunTime:0.001481s ]
  4. SELECT * FROM `fenlei` WHERE `fid` = 63 [ RunTime:0.000292s ]
  5. SHOW FULL COLUMNS FROM `set` [ RunTime:0.000472s ]
  6. SELECT * FROM `set` [ RunTime:0.000231s ]
  7. SHOW FULL COLUMNS FROM `article` [ RunTime:0.000511s ]
  8. SELECT * FROM `article` WHERE `id` = 462179 LIMIT 1 [ RunTime:0.000845s ]
  9. UPDATE `article` SET `lasttime` = 1774152682 WHERE `id` = 462179 [ RunTime:0.005136s ]
  10. SELECT * FROM `fenlei` WHERE `id` = 65 LIMIT 1 [ RunTime:0.000247s ]
  11. SELECT * FROM `article` WHERE `id` < 462179 ORDER BY `id` DESC LIMIT 1 [ RunTime:0.000575s ]
  12. SELECT * FROM `article` WHERE `id` > 462179 ORDER BY `id` ASC LIMIT 1 [ RunTime:0.000393s ]
  13. SELECT * FROM `article` WHERE `id` < 462179 ORDER BY `id` DESC LIMIT 10 [ RunTime:0.001201s ]
  14. SELECT * FROM `article` WHERE `id` < 462179 ORDER BY `id` DESC LIMIT 10,10 [ RunTime:0.005716s ]
  15. SELECT * FROM `article` WHERE `id` < 462179 ORDER BY `id` DESC LIMIT 20,10 [ RunTime:0.003133s ]
0.089862s