1月6日,广州市教育局官网发布《关于同意筹设广州市晟德高级中学的批复》。批复显示,广州市教育局同意广州市暨高文化投资有限公司筹设广州市晟德高级中学(暂定名),筹设场地位于广州市番禺区新造镇,筹设期不超过三年。筹设期间,该公司应严格按照有关法律法规及相关政策规定,不得招收学生,并规范和加强对筹设学校的安全管理。学校符合设立条件后,按程序申请正式设立。
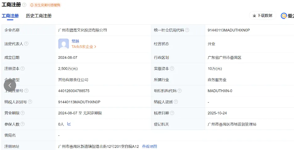
广州市暨高文化投资有限公司成立于2024年,注册资本2500万,地址位于新造镇智港北街。据“番禺新造融媒”2025年9月发布,新造镇走重点企业中,就包含了广州市暨高文化投资有限公司,调研人员祝贺企业成功竞得曾边村暨南大学东北角留用地招商项目。
2025年11月25日,广州市规划和自然资源局发布了广州市番禺区新造镇曾边村暨大留用地(规划高级中学)的建设工程设计方案审查及调整批后公布图。
该项目总用地面积为59167.07平方米;计算容积率建筑面积84741.71平方米。
未来扩建+新建高中名单:
注:本表图片和数据为来源于网络整理,如有错漏,欢迎指正。
截至2026年,民办高中预计增至44-45所,数量创新高。然而,如何招满学生,成为摆在每所学校面前的现实难题。
随着出生人口下降,高中适龄人口减少,生源竞争日趋激烈。民办高中不仅要面对公办学校的压力,还要在同类学校中脱颖而出。高昂的学费让部分家庭望而却步,而办学特色不鲜明、教学质量参差不齐,也让一些学校吸引力不足。
为了应对招生之困,许多民办高中不得不加大宣传力度,推出奖学金、降低学费等优惠政策,大家可以多留意渠道,再加上今年的恢复“市一模”及“史上最严”中考“十条”出炉。但从长远来看,真正能吸引学生的,还是办学质量、特色课程以及升学成果。
对于民办高中而言,生存的关键在于找准定位,提升核心竞争力。只有办出特色、办出口碑,才能在激烈的竞争中赢得家长和学生的信任,突破招生困局,实现可持续发展。
最新资讯可关注官网或全通公众号
如果需要精准一对一报考咨询,请联系小助手咨询~


注:
本表图片和数据为来源于网络整理,如有错漏,欢迎指正。
文末福利1️⃣添加小助手领取以下电子版资料
2025年广州市中/高考志愿填报模拟表
2025年广东省高校/高中录取情况总表
2️⃣添加小助手预约/咨询1V1填报指导服务(线上/线下)3️⃣添加小助手加入中高考答疑群获取各区最新动态